Gehrungsschnitt, durch Punkt mit Verlängerung (3D-Blech)

Kantblech > Gehrung > PullDown-Menü mit Verlängern > Durch Punkt

Laschen, die sich nicht überlappen und keine gleiche Länge aufweisen, schneiden (erweitern) Sie mit dieser Funktion auf Gehrung. Die Laschen müssen sich in einer Ebene befinden.

  1. Identifizieren Sie beide Laschen an der Längskante der Stirnseite.

Dadurch wird der erste Schnittpunkt der Gehrung automatisch gesetzt. Er liegt in der theoretischen Verlängerung der Innenkanten der Laschen.

  1. Danach aktivieren Sie den zweiten Schnittpunkt.

Wenn Sie anstelle des zweiten Punktes die mittlere Maustaste drücken, wird die Winkelhalbierende als Gehrungsschnitt verwendet.

Sie können nun weitere Laschen schneiden oder die Funktion mit der mittleren Maustaste beenden.

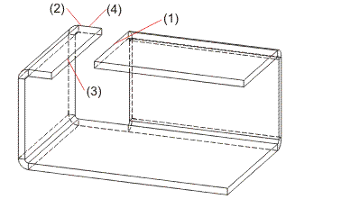
(1) Längskante der ersten Stirnseite

(2) Längskante der zweiten Stirnseite

(3) Automatisch gesetzter Schnittpunkt

(4) Zweiter Schnittpunkt

 Verwandte Themen

Gehrung (3D-Blech)

Version 1802 - HiCAD Blech | Ausgabedatum: 09/2013 | © Copyright 2013, ISD Software und Systeme GmbH